"
Клапан обратный двустворчатый межфланцевый ОКД-15Ф – это запорное устройство, предназначенное для предотвращения обратного потока рабочей среды в случае нарушения технологического процесса производства (отключения насоса, снижения давления на каком-либо участке, разрыва трубопровода и т. п.).Клапан обратный ОКД-15Ф применяется для систем водоснабжения и водоотведения, транспортирующих техническую горячую, холодную воду и другие жидкости.
Особенности: - Клапан может быть установлен между фланцами стандарта DIN
- Антикоррозийное покрытие толщиной 250 мк
- Компактная монтажная длина
- Простая и надежная конструкция
Следует учитывать: - Клапан не применяется для сред с крупнодисперсными и кристаллизующимися включениями
- Большие потери напора
Принцип действия: Клапан обратный двустворчатый межфланцевый ОКД-15Ф устанавливается на трубопроводе в тех местах, где нежелательно обратное движение потока рабочей среды. Автоматическое предупреждение движения потока рабочей среды в обратном направлении осуществляется за счет запорного элемента, выполненного в форме двух створок, которые закрепляются на поворотной оси с помощью пружины. Благодаря пружин ному механизму обеспечивается герметичность перекрытия движения потока рабочей среды.Клапан обратный двустворчатый работает следующим образом: под воздействием потока рабочей среды, движущейся в нормальном направлении (прямой поток), створки запорного элемента открываются и не создают сопротивления движению. При воздействии обратного потока створки захлопываются за счет давления, оказываемого пружинныммеханизмом, тем самым поток рабочей среды перекрывается. Важно отметить, что поток среды должен иметь направление, совпадающее со стрелкой на корпусе.
Технические характеристики:
| Параметр | Значение |
| Рабочая среда | Вода, горячая вода, воздух, масла, спирт, а также слабые кислоты и щелочи с концентрацией < 40% |
| Материал | Корпуса клапана: чугунДиска: чугун с никелевым покрытиемШтока/пружины: нержавеющая стальУплотнения: EPDM |
| Температура рабочей среды | −20...120°С |
| Рабочее давление | 0,0...1,6 МПа |
| Диаметр условного прохода | 40...500 мм |
| Присоединение крана | Межфланцевое W1½"...W20" |
Модификации:| Модель | Ду, мм | Kv, м³/ч | Присоединение | Вес, кг |
| ОКД-15Ф-040 WHE | 40 | 24 | W1½" | 1 |
| ОКД-15Ф-050 WHE | 50 | 37 | W2" | 1,3 |
| ОКД-15Ф-065 WHE | 65 | 77 | W2½" | 1,9 |
| ОКД-15Ф-080 WHE | 80 | 135 | W3" | 2,9 |
| ОКД-15Ф-100 WHE | 100 | 250 | W4" | 3,7 |
| ОКД-15Ф-125 WHE | 125 | 490 | W5" | 5,5 |
| ОКД-15Ф-150 WHE | 150 | 690 | W6" | 7,25 |
| ОКД-15Ф-200 WHE | 200 | 1220 | W8" | 13 |
| ОКД-15Ф-250 WHE | 250 | 2100 | W10" | 23 |
| ОКД-15Ф-300 WHE | 300 | 3210 | W12" | 33 |
| ОКД-15Ф-350 WHE | 350 | 4300 | W14" | 48 |
| ОКД-15Ф-400 WHE | 400 | 6800 | W16" | 65 |
| ОКД-15Ф-450 WHE | 450 | 8600 | W18" | 100 |
| ОКД-15Ф-500 WHE | 500 | 10 400 | W20" | 110 |
"
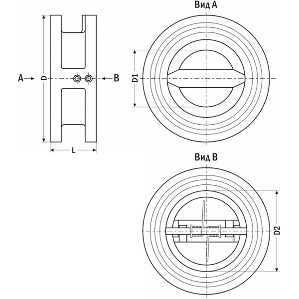
| Габаритные размеры |
 |
| Модель клапана | DN | Размеры, мм |
| D | D1 | D2 | L | R |
| ОКД-15Ф-040 WHE | 40 | 88 | 47 | 66 | 43 | 28,8 |
| ОКД-15Ф-050 WHE | 50 | 105 | 47 | 66 | 43 | 28,8 |
| ОКД-15Ф-065 WHE | 65 | 127 | 57 | 81 | 46 | 36 |
| ОКД-15Ф-080 WHE | 80 | 135 | 65 | 95 | 64 | 43,4 |
| ОКД-15Ф-100 WHE | 100 | 158 | 82 | 118,5 | 64 | 49 |
| ОКД-15Ф-125 WHE | 125 | 190 | 114 | 146 | 70 | 65,7 |
| ОКД-15Ф-150 WHE | 150 | 215 | 135 | 171,5 | 76 | 78,6 |
| ОКД-15Ф-200 WHE | 200 | 273 | 186 | 226 | 89 | 104,4 |
| ОКД-15Ф-250 WHE | 250 | 329 | 215 | 269 | 114 | 127 |
| ОКД-15Ф-300 WHE | 300 | 384 | н/д | н/д | 114 | 147 |
| ОКД-15Ф-350 WHE | 350 | 446 | н/д | н/д | 127 | 172,4 |
| ОКД-15Ф-400 WHE | 400 | 498 | н/д | н/д | 140 | 197,4 |
| ОКД-15Ф-450 WHE | 450 | 550 | н/д | н/д | 152 | 217,6 |
| ОКД-15Ф-500 WHE | 500 | 610 | н/д | н/д | 152 | 241 |
"